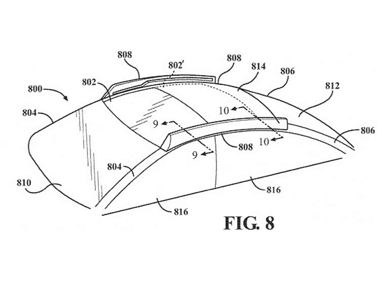
近日,我们从相关渠道获悉,苹果公司正在申请一个新的天窗专利。该专利目的是让司机能够决定进入车内光线的多少。目前,虽然苹果公司对造车项目依旧处于保密状态,但它们确实正在夜以继日地开发新技术,这些技术有朝一日可能会被用于其雄心勃勃的自动驾驶电动车中。

根据目前的信息显示,此次申请的天窗专利,其手法是基于可变的车窗半透明性,车内的人能够通过按下按钮来轻松调整车厢内的亮度。根据专利上的解释:“可变半透明区域随着可动面板组件从关闭位置向开放位置的移动而从变暗状态切换到变亮状态,而可变半透明区域随着可动面板组件从开放位置向关闭位置的移动而从变亮状态切换到变暗状态。”
这项专利被称为“可移动面板组件”,于 2 月 1 日获得授权,当然,这并不意味着苹果公司计划开始大规模生产这样的汽车天窗。但另一方面,这仍然表明苹果在汽车方面的研发非常活跃,即使该公司不开发苹果汽车,但由于其开发的技术,其仍然可以成为这个市场的重要参与者。苹果汽车预计最早将在 2025 年亮相,目前苹果公司正在与几家第三方公司讨论包括电池在内的基本部件的潜在供应交易,该车的生产很可能由麦格纳和LG的合资公司负责。(消息来源:IT之家;编译/汽车之家 毕业)